हमें ईमेल करें

sdepochwater@hotmail.com

समाचार

​गेट वाल्व की विशेषताएं और वर्गीकरण


गेट वाल्व, जिसे गेट प्लेट वाल्व के रूप में भी जाना जाता है, एक वाल्व होता है जिसका खुलने और बंद होने वाला भाग एक गेट प्लेट होता है, और जो गेट प्लेट को ऊपर और नीचे ले जाने के लिए वाल्व स्टेम द्वारा संचालित होता है।


गेट वाल्व की विशेषताएं


1) गेट वाल्व के लाभ: कम द्रव प्रवाह प्रतिरोध; खोलने और बंद करने के लिए आवश्यक टॉर्क छोटा है। माध्यम की प्रवाह दिशा अप्रतिबंधित है. खोलते और बंद करते समय पानी के हथौड़े की कोई घटना नहीं होती है। आकार संरचना अपेक्षाकृत सरल है, और विनिर्माण प्रक्रिया बेहतर है।


2) गेट वाल्व के नुकसान: उनके अपेक्षाकृत बड़े बाहरी आयाम और स्थापना ऊंचाई हैं, और काफी स्थापना स्थान की आवश्यकता होती है। खोलने और बंद करने की प्रक्रिया के दौरान, सीलिंग सतह पर सापेक्षिक घर्षण होता है, जिसके परिणामस्वरूप महत्वपूर्ण घिसाव होता है। उच्च तापमान पर भी इस पर खरोंच लगने का खतरा रहता है। गेट वाल्व में आमतौर पर दो सीलिंग सतहें होती हैं, जो प्रसंस्करण, पीसने और रखरखाव में कुछ कठिनाइयां जोड़ती हैं।


गेट वाल्व के अनुप्रयोगों की एक विस्तृत श्रृंखला है। इसका उपयोग आमतौर पर DN50 या अधिक के नाममात्र व्यास वाली जल आपूर्ति पाइपलाइनों के लिए किया जाता है।



गेट वाल्वों का वर्गीकरण


गेट वाल्वों को कनेक्शन विधियों द्वारा थ्रेडेड गेट वाल्व, फ़्लैंग्ड गेट वाल्व और वेल्डेड गेट वाल्व में वर्गीकृत किया जा सकता है। संरचनात्मक विशेषताओं के अनुसार, उन्हें समानांतर गेट प्लेट और वेज गेट प्लेट में विभाजित किया जा सकता है। वाल्व स्टेम की संरचना के आधार पर, उन्हें अलग-अलग स्टेम (उठाने वाला स्टेम) गेट वाल्व और छुपा हुआ स्टेम (घूर्णन स्टेम) गेट वाल्व में वर्गीकृत किया जा सकता है।




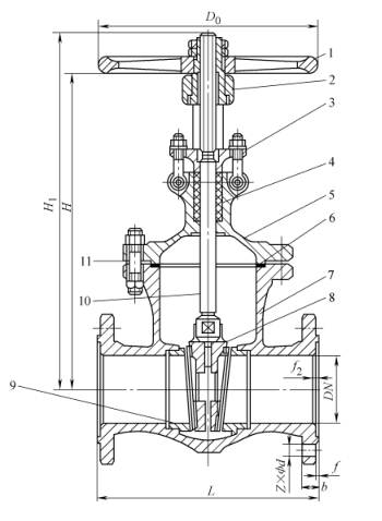
1) ओपन स्टेम पैरेलल डबल गेट वाल्व: ओपन स्टेम पैरेलल डबल गेट वाल्व चित्र 1 में दिखाया गया है। इसका गेट दो सममित और समानांतर डिस्क से बना है। जब गेट नीचे उतरता है, तो गेट के नीचे लगाई गई ऊपरी कील दोनों गेटों को बाहर की ओर विस्तारित करती है और वाल्व सीट के खिलाफ मजबूती से दबती है, जिससे वाल्व कसकर बंद हो जाता है। जब गेट ऊपर उठता है, तो वेज डिस्क से अलग हो जाता है। एक बार जब डिस्क एक निश्चित ऊंचाई तक बढ़ जाती है, तो डिस्क पर उभरे उभारों से पच्चर उठ जाता है और गेट के साथ ऊपर उठ जाता है। इस वाल्व की संरचना सरल है। इसकी सीलिंग सतह का प्रसंस्करण, पीसना और रखरखाव सभी वेज गेट वाल्व की तुलना में सरल हैं। हालाँकि, इसका सीलिंग प्रदर्शन अपेक्षाकृत खराब है। यह 1.0MPa से अधिक दबाव और 200℃ से अधिक तापमान वाले मीडिया के लिए उपयुक्त है।



चित्र 1: राइजिंग स्टेम समानांतर डबल गेट वाल्व


1. हैंडव्हील 2- वाल्व स्टेम नट 3- वाल्व स्टेम 4 - पैकिंग ग्रंथि 5 - पैकिंग 6 - वाल्व कवर

7 - गैस्केट 8 - सीलिंग रिंग 9 - वाल्व बॉडी 10 - गेट 11 - टॉप वेज


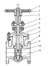
2) छुपा हुआ स्टेम वेज गेट वाल्व: जैसा कि चित्र 2 में दिखाया गया है, इस वाल्व की सीलिंग सतह झुकी हुई है और एक कोण बनाती है। मध्यम तापमान जितना अधिक होगा, कोण उतना ही बड़ा होगा। वेज गेट प्लेटों को सिंगल गेट प्लेट्स, डबल गेट प्लेट्स और इलास्टिक गेट प्लेटों में वर्गीकृत किया गया है, जैसा कि क्रमशः चित्र 2 ए, बी और सी में दिखाया गया है। वेज गेट प्लेटों का प्रसंस्करण, पीसना और रखरखाव समानांतर गेट प्लेटों की तुलना में अधिक जटिल है, लेकिन उनका सीलिंग प्रदर्शन बेहतर है।


चित्र 2 छुपा हुआ स्टेम वेज गेट वाल्व


ए) वेज सिंगल गेट प्लेट बी) वेज डबल गेट प्लेट सी) वेज इलास्टिक गेट प्लेट


1. हैंडव्हील 2. संकेतक 3. कवर 4. स्टफिंग बॉक्स 5. पैकिंग 6. वाल्व कवर

7- वाल्व स्टेम 8 - वाल्व स्टेम नट 9, 12 - सीलिंग रिंग 10 - वाल्व बॉडी 11 - गेट प्लेट 13 - गैस्केट


लोचदार गेट वाल्व चित्र 3 में दिखाया गया है। इसमें सरल संरचना और विश्वसनीय उपयोग के फायदे हैं, और यह एक छोटा लोचदार विरूपण उत्पन्न कर सकता है, जिससे समापन की जकड़न बढ़ जाती है।



चित्र 3 इलास्टिक गेट वाल्व


1. हैंडव्हील 2- वाल्व स्टेम नट 3 - पैकिंग ग्रंथि 4 - पैकिंग 5 - वाल्व कवर 6 - गैसकेट

7- वाल्व बॉडी 8 गेट प्लेट 9 - सीलिंग रिंग 10 - वाल्व स्टेम 11 - कनेक्टिंग बोल्ट


राइजिंग स्टेम गेट वाल्व में, वाल्व स्टेम का धागा एक हैंडव्हील से सुसज्जित स्लीव नट के साथ फिट बैठता है। वाल्व स्टेम के निचले सिरे पर एक चौकोर सिर होता है, जो गेट प्लेट में लगा होता है। जब हैंडव्हील घुमाया जाता है, तो वाल्व स्टेम और गेट प्लेट ऊपर और नीचे चलती हैं। खोलते समय, वाल्व स्टेम हैंडव्हील से बाहर निकल जाता है। फायदा यह है कि वाल्व के खुलने की डिग्री का अंदाजा वाल्व स्टेम की विस्तारित लंबाई से लगाया जा सकता है, और वाल्व स्टेम संप्रेषित माध्यम के सीधे संपर्क में नहीं आता है। दोष यह है कि वाल्व की उद्घाटन ऊंचाई बड़ी है, और स्थापना स्थल पर वाल्व स्टेम को बाहर की ओर विस्तारित करने के लिए पर्याप्त जगह होनी चाहिए। साइट पर इंस्टॉल करते समय इस बिंदु पर अवश्य ध्यान दें। छुपे हुए स्टेम गेट वाल्व के वाल्व स्टेम का बाहरी धागा वाल्व में एम्बेडेड आंतरिक धागे के साथ फिट बैठता है। इसलिए, जब हैंडव्हील घुमाया जाता है, तो वाल्व स्टेम घूमता है, जिससे वाल्व के अंदर का गेट ऊपर और नीचे जाता है, लेकिन वाल्व स्टेम ऊपर और नीचे नहीं जा सकता है। छुपा हुआ स्टेम गेट वाल्व स्थापना के दौरान कम जगह लेता है। संप्रेषित माध्यम वाल्व स्टेम के सीधे संपर्क में आता है, और वाल्व के खुलने की डिग्री का आकलन वाल्व स्टेम के माध्यम से नहीं किया जा सकता है। चाहे वह राइजिंग स्टेम गेट वाल्व हो या नॉन-राइजिंग स्टेम गेट वाल्व, गेट वाल्व को क्षैतिज रूप से स्थापित किया जाना चाहिए। वाल्व स्टेम लंबवत ऊपर की ओर होना चाहिए और झुका हुआ नहीं होना चाहिए। वाल्व स्टेम को नीचे की ओर स्थापित करना सख्त वर्जित है।



सम्बंधित खबर
मुझे संदेश दे देना
X
हम आपको बेहतर ब्राउज़िंग अनुभव प्रदान करने, साइट ट्रैफ़िक का विश्लेषण करने और सामग्री को वैयक्तिकृत करने के लिए कुकीज़ का उपयोग करते हैं। इस साइट का उपयोग करके, आप कुकीज़ के हमारे उपयोग से सहमत हैं। गोपनीयता नीति
अस्वीकार करना स्वीकार करना